Product Summary
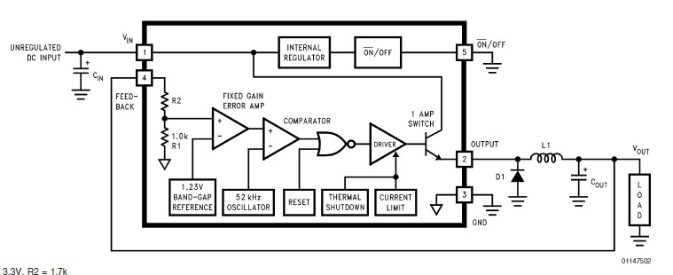
The LM2575HVT-ADJ is a simple switcher 1A step-down voltage regulator. Application areas of the LM2575HVT-ADJ include Efficient pre-regulator for linear regulators, On-card switching regulators, Positive to negative converter (Buck-Boost).
Parametrics
LM2575HVT-ADJ absolute maximum ratings: (1)Output Voltage to Ground (Steady State): -1V; (2)Power Dissipation: Internally Limited; (3)Storage Temperature Range: -65°C to +150°C; (4)Maximum Junction Temperature: 150°C.
Features
LM2575HVT-ADJ features: (1)Guaranteed 1A output current; (2)Wide input voltage range, 40V up to 60V for HV version; (3)Requires only 4 external components; (4)52 kHz fixed frequency internal oscillator; (5)TTL shutdown capability, low power standby mode; (6)High efficiency; (7)Uses readily available standard inductors; (8)Thermal shutdown and current limit protection.
Diagrams

| Image | Part No | Mfg | Description | ![]() |
Pricing (USD) |
Quantity | ||||||||||||
|---|---|---|---|---|---|---|---|---|---|---|---|---|---|---|---|---|---|---|
![]() |
![]() LM2575HVT-ADJ |
![]() National Semiconductor (TI) |
![]() Switching Converters, Regulators & Controllers |
![]() Data Sheet |
![]()
|
|
||||||||||||
![]() |
![]() LM2575HVT-ADJ/LB03 |
![]() National Semiconductor (TI) |
![]() Switching Converters, Regulators & Controllers |
![]() Data Sheet |
![]()
|
|
||||||||||||
![]() |
![]() LM2575HVT-ADJ/NOPB |
![]() National Semiconductor (TI) |
![]() Switching Converters, Regulators & Controllers 1A STEP-DOWN VLTG REG |
![]() Data Sheet |
![]()
|
|
||||||||||||
![]() |
![]() LM2575HVT-ADJ/LF03 |
![]() National Semiconductor (TI) |
![]() Switching Converters, Regulators & Controllers |
![]() Data Sheet |
![]()
|
|
||||||||||||
(China (Mainland))










