Product Summary
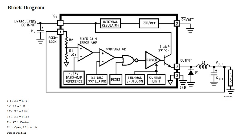
The LM2576S-ADJ is a regulator, a monolithic integrated circuit that provides all the active functions for a step-down(buck) switching regulator, capable of driving 3A load withexcellent line and load regulation. The device is available in fixed output voltages of 3.3V, 5V, 12V, 15V, and an adjustable output version.Requiring a minimum number of external components, theseregulators are simple to use and include internal frequencycompensation and a fixed-frequency oscillator.The LM2576S-ADJ offers a high-efficiency replacement forpopular three-terminal linear regulators. It substantially reduces the size of the heat sink, and in some cases no heatsink is required. Applications include Simple high-efficiency step-down (buck)regulator, Efficient pre-regulator for linear regulators, On-card switching regulators and Positive to negative converter (Buck-Boost).
Parametrics
LM2576S-ADJ absolute maximum ratings: (1)Maximum Supply Voltage: 45v; (2)Output Voltage to Ground (Steady State): -1V; (3)Power Dissipation: Internally Limited; (4)Storage Temperature Range: -65℃ to +150℃; (5)Maximum Junction Temperature: 150℃; (6)Minimum ESD Rating: 2kV; (7)Lead Temperature (Soldering, 10 sec.): 260℃.
Features
LM2576S-ADJ features: (1)3.3V, 5V, 12V, 15V, and adjustable output versions; (2)Adjustable version output voltage range,1.23V to 37V (57V for HV version) ±4% max overline and load conditions; (3)Guaranteed 3A output current; (4)Wide input voltage range, 40V up to 60V forHV version; (5)Requires only 4 external componentsn52 kHz fixed frequency internal oscillator; (6)TTL shutdown capability, low power standby mode; (7)High efficiency; (8)Uses readily available standard inductors; (9)Thermal shutdown and current limit protection; (10)P+ Product Enhancement tested.
Diagrams

| Image | Part No | Mfg | Description | ![]() |
Pricing (USD) |
Quantity | ||||||||||||
|---|---|---|---|---|---|---|---|---|---|---|---|---|---|---|---|---|---|---|
![]() |
![]() LM2576S-ADJ |
![]() National Semiconductor (TI) |
![]() Switching Converters, Regulators & Controllers |
![]() Data Sheet |
![]()
|
|
||||||||||||
![]() |
![]() LM2576S-ADJ/NOPB |
![]() National Semiconductor (TI) |
![]() Switching Converters, Regulators & Controllers 3A STEP-DOWN VLTG REG |
![]() Data Sheet |
![]()
|
|
||||||||||||
(China (Mainland))










